格林巴赫托普,巴赫BACH進口泵閥品牌。
格林巴赫托普,專注于進口濾芯式精細過濾器制造商,主要產品:水泵,閥門,水處理設備等系列產品的制造、銷售、售后服務,進口濾芯式精細過濾器產品應用在化工、石化、石油、造紙、采礦、電力、液化氣、食品、制藥、給排水等領域。
|
濾芯式精細過濾器 |
|
|
DJM型精細過濾器應用實例:
煉油行業(yè)
催化重整裝置再生氣過濾
加氫精制裝置,新氫、循環(huán)氫過濾、原料油、成品油過濾
干氣脫硫裝置中,干氣過濾,貧液、富液過濾
油品調合中潤滑油的過濾
石油化工行業(yè)
乙烯、丙烯、丁二烯、乙炔、甲苯、二甲苯等原料過濾。
丙酮、乙醇、甘油等過濾。
化工行業(yè)
各類溶劑,已內酰胺、酯、醇及一般濃度的酸堿等原料的過濾。
制藥行業(yè)
無菌空氣設備及蒸氣等過濾。
化纖行業(yè)中各類高分子聚合物過濾。 |
|
不銹鋼纖維燒結濾芯精細過濾器DJM-I型
DJM-1型精細過濾器,其濾件采用不銹鋼纖維燒結氈經折疊制成的管狀濾芯,具有處理量大,過濾精度高,壓降小,并且可清洗再用的優(yōu)點。用于液體或氣體過濾。 |
|
DJM-I型精細過濾器典型適用范圍 |
|
介質
|
過濾精度μm
|
流量
|
溫度℃
|
工作壓力MPa
|
壓力損失MPa
|
粘度cp
|
|
氣體
|
0.3-100
|
0.5-650m3/min
|
≤500
|
≤7.0
|
1X10-4-0.5
|
0.01-0.1
|
|
液體
|
3-60
|
1-240m3/h
|
≤300
|
≤7.0
|
0.002-0.45
|
0.5-1000
|
|
聚酯類
|
3-60
|
1-110kg/min
|
260-430
|
≤7.0
|
0.7-10.5
|
≤105
|
|
多層不銹鋼纖維燒結濾芯精細過濾器DJM-II型
DJM-1I型精細過濾器,其濾件采用五層不銹鋼燒結網濾材,具有過濾能力大,過濾精度高,壓損小,工藝過程穩(wěn)定可靠的特點,尤其是該濾件特別優(yōu)異的清洗再生功能,因而DJM-II型精細過濾器成為最好的可清洗過濾器,從而確保過濾系統(tǒng)實現長期連續(xù)運行的目的??捎糜谝后w或氣體過濾。 |
|
DJM-II型精細過濾器典型適用范圍 |
|
介質
|
過濾精度μm
|
流量m3/h
|
溫度℃
|
工作壓力MPa
|
壓力損失MPa
|
粘度cp
|
|
氣體
|
1-100
|
10-2X104
|
≤480
|
≤4.0
|
1X10-3-0.2
|
0.01-0.1
|
|
液體
|
5-500
|
1-200
|
≤480
|
≤4.0
|
0.001-0.3
|
0.3-100
|
|
金屬粉末燒結濾芯精細過濾器DJM-III型
DJM-III型精細過濾器的核心是微孔粉末燒結管,具有耐高溫、耐腐蝕、孔徑均勻穩(wěn)定、透氣性好、可清洗再用等特點。用于液體或氣體過濾。
DJM-III型精細過濾器適用于過濾精度0.01-100μm液體、氣體過濾。
DJM-III型精細過濾器主要用于導熱油、液壓油過濾、無菌氣體制備。
精細過濾器并聯切換反沖洗過濾系統(tǒng)DJM-D型
本過濾系統(tǒng)由于采用可清洗再生的金屬濾芯做過濾元件,從而能夠實現系統(tǒng)長期平穩(wěn)連續(xù)運行的目的。其操作方式有手動的PLC程控兩中,其基本工作原理如圖。
|
|
|
|
|
|
|
|
|
(一)線纏繞式精細過濾器(DJN-I型)
其濾件是由紡織纖維紗精密纏在多孔骨架上,控制濾層纏繞密度及濾孔形狀而形成不同過濾精度的濾芯,具有優(yōu)良的深層過濾效果,良好的化學相容性。線纏繞式精細過濾器能有效除去液體中懸浮、微粒。廣泛應用于各種水處理,油田修井液及注水、化學藥液、酸、堿性溶液、溶劑、洗滌液及磁性等過濾。
(二)聚丙烯纖維氈折疊式精細過濾器(DJN-II型)
其濾件是有聚丙烯超細纖維氈經折疊而制成。聚丙烯纖維氈折疊精細過濾器具有處理量大、過濾效率高、阻力小、無纖維脫離、可殺菌消毒而廣泛應用于電子工業(yè)、醫(yī)藥工業(yè)、化學工業(yè)、食品飲料工業(yè)、機械工業(yè)等液體過濾。
(三)微孔塑料濾芯精細過濾器結(DJN-III型)
其濾件是由高分子量聚乙烯燒結成型。具有剛性好、重量輕、孔隙率高、可反沖洗再生、無毒、耐蝕。由微孔塑料濾芯構成精細過濾器,適用于水處理、酸、堿液、有機溶劑、藥液、油類等液體過濾。 |
|
非金屬濾芯精細過濾器濾件性能 |
|
型號
|
濾件名稱
|
濾件材料
|
過濾精度μm
|
耐溫℃
|
耐壓MPa
|
|
DJN-I
|
線纏繞式濾芯
|
聚丙烯纖維
棉纖維
聚丙烯晴纖維
|
0.5-100
|
60(聚丙烯骨架)
120(不銹鋼骨架棉濾層)
|
0.5
|
|
DJN-II
|
聚丙烯纖維濾芯
|
聚丙烯纖維
|
1-100
|
60
|
0.4
|
|
DJN-III
|
微孔塑料濾芯
|
聚乙烯
|
0.5-100
|
60
|
0.4
|
|
|
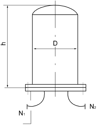
(四)非金屬濾芯精細過濾器結構尺寸 |
|
非金屬濾芯精細過濾器結構尺寸(典型結構I) |
|
型號
|
流量m3/h
|
過濾精度μm
|
工作壓力MPa
|
安裝尺寸
|
|
h
|
D
|
進出口N1N2
|
|
DJN-I
|
1-5
|
1-100
|
0.6
|
910
|
φ219
|
DN32 PN1.0
|
|
DJN-II
|
5-10
|
1420
|
φ273
|
DN40 PN1.0
|
|
DJN-III
|
10-20
|
1420
|
φ350
|
DN50 PN1.0
|
|
注:表中流量范圍為各過濾精度1-100μm,以水為介質的流量。
選用的流量應大于實需流量的1.5-2倍為宜。 |
|
|
|
非金屬濾芯精細過濾器結構尺寸(典型結構II) |
|
型號
|
流量m3/h
|
過濾精度μm
|
工作壓力MPa
|
安裝尺寸
|
|
h
|
D
|
L
|
進出口N1N2
|
|
DJN-I
DJN-II
DJN-III
|
40-60
|
1-100
|
0.6
|
2210
|
φ500
|
740
|
DN125 PN1.0
|
|
60-90
|
2300
|
φ600
|
840
|
DN150 PN1.0
|
|
90-110
|
2430
|
φ700
|
1010
|
DN150 PN1.0
|
|
110-130
|
2550
|
φ800
|
1110
|
DN200 PN1.0
|
|
注:表中流量范圍為各過濾精度1-100μm,以水為介質的流量。
選用的流量應大于實需流量的1.5-2倍為宜。 |
|
|
|
聲明:本產品介紹中所有文字、數據、圖片考慮到使用工況條件不同,難免會產生誤差、不恰當或是有不充分的描述,故均適用于參考,同一種產品在不同的場合與工況有不同的搭配,如果您對本文中所提供的產品內容有任何疑問,如果您是非專業(yè)人士,歡迎您向本公司來電咨詢,請您聯系我們,我們將竭誠為您服務!
技術QQ;2412941573
銷售電話 :13917052988 (微信同號)。